数显维氏硬度计YHVS5

概述
一体化铸铝机身,不变形,不位移,外观漆水采用汽车烤漆工艺,砝码加载结构,性能稳定,5.1吋大屏LCD显示,可切换硬度标尺HV或HK;菜单式结构,操作简便;高清光学系统和物镜,光源亮度可以20级调节,硬度换算功能;对角线长度D1和D2编码器输入,减少人为读数误差,定位准确;测量结果和数据处理,可通过打印机输出。
主要功能
5.1吋大屏LCD显示,可切换硬度标尺HV或HK;
● 菜单式结构,操作简便;
● 高清光学系统和物镜,光源亮度可以20级调节;
● 硬度换算功能;
● 对角线长度D1和D2编码器输入,减少人为读误差;
● 定位准确;
● 测试结果和数据处理,可通过打印机输出。
应用范围
材料研究和科学试验方面小负荷维氏硬度试验,测试小型精密零件的硬度,热处理、碳化、淬火硬化层,表面覆层,钢,有色金属、薄片材料和细线材的硬度,刀刃附近的硬度,牙科材料的硬度等,还能测试表面硬化层硬度和硬化层深度。也可用于测试诸如玻璃、珠宝和陶瓷等用洛氏测试方法及其它相对大试验力测试无法测试的非金属材料。它能遵循金属的结构,测试感应硬化或渗碳化等材料的内部硬度。
维氏试验原理
维氏硬度试验是用136°正菱形金刚石压头,以规定试验力(F)压入被测试物体的表面,经规定的保持试验力时间后,卸除试验力,用测微目镜测量试件表面的压痕对角线(d),计算压痕的锥形表面积所承受的平均压力(N/mm2),即维氏硬度值。(详见图1.1)。

技术数据
型号 | YHVS5(手动转塔) |
试验力 | 0.3Kgf、0.5Kgf、1Kgf、2Kgf、3Kgf、5Kgf |
转换标尺 | 洛氏、表面洛氏、布氏 |
测量范围 | 8-2900HV |
最小测量单位 | 0. 0625μm (20倍物镜);0.125μm (10倍物镜) |
试验力保荷时间 | 5~60s可调(每1秒为一单位) |
测量精度 | 满足或高于GB/T4340.2 |
总放大倍数 | 观察与测量100X 测量200X |
数据输出 | 内置打印机输出 |
加荷控制 | 自动(加荷、保荷、卸荷) |
仪器重量 | 约45kg |
试件最大尺寸 | 最大高度165mm ,压头中心到内壁130mm |
电源 | AC220V±5%,50~60Hz |
执行标准 | GB/T4340.2国家标准 JJG151检定规程 |
可选附件 | XY工作台,CCD测量系统,努氏压头、细丝夹持台 |
附表一
硬度 符号 | 最大误差 表示为标准块规定硬度值的百分比 | |||||||||||||||
硬度,HV | ||||||||||||||||
50 | 100 | 150 | 200 | 250 | 300 | 350 | 400 | 450 | 500 | 600 | 700 | 800 | 900 | 1000 | 1500 | |
HV0.1 | 5 | 6 | 7 | 8 | 8 | 9 | 10 | 10 | 11 | |||||||
HV0.2 | 4 | 6 | 8 | 9 | 10 | 11 | 11 | 12 | 12 | |||||||
HV0.3 | 4 | 5 | 6 | 7 | 8 | 9 | 10 | 10 | 11 | 11 | ||||||
HV0.5 | 3 | 5 | 5 | 6 | 6 | 7 | 7 | 8 | 8 | 9 | 11 | |||||
HV1 | 3 | 4 | 4 | 4 | 5 | 5 | 5 | 6 | 6 | 6 | 8 | |||||
HV2 | 3 | 3 | 3 | 4 | 4 | 4 | 4 | 4 | 5 | 5 | 6 | |||||
HV3 | 3 | 3 | 3 | 3 | 3 | 4 | 4 | 4 | 4 | 4 | 5 | |||||
HV5 | 3 | 3 | 3 | 3 | 3 | 3 | 3 | 3 | 3 | 4 | 4 | |||||
HV10 | 3 | 3 | 3 | 3 | 3 | 3 | 3 | 3 | 3 | 3 | 3 | |||||
HV20 | 3 | 3 | 3 | 3 | 3 | 3 | 3 | 3 | 3 | 3 | 3 | |||||
HV30 | 3 | 3 | 2 | 2 | 2 | 2 | 2 | 2 | 2 | 2 | 2 | |||||
HV50 | 3 | 3 | 2 | 2 | 2 | 2 | 2 | 2 | 2 | 2 | 2 | |||||
HV100 | 3 | 2 | 2 | 2 | 2 | 2 | 2 | 2 | 2 | 2 | ||||||
注: 1.当压痕对角线小于0.020mm时,表中不给出误差值。 2.对于中间值,其最大允许误差可由内插法求得。 3.表中值是以0.001mm或压痕对角线平均值的2%为最大误差给出的,以较大者为准。 | ||||||||||||||||
表中内容摘于GB/T4340.2。 | ||||||||||||||||
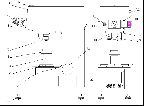
硬度计主机外形

硬度计主机外形
1.调节螺钉 | 2.旋轮 | 3.螺杆 | 4.试台 | 5.压头 |
6.目镜 | 7.眼罩 | 8.上盖 | 9.摄像盖板 | 10.后盖板 |
11.手轮 | 12.电源开关 | 13.10х物镜 | 14.灯源 | 15.左鼓轮 |
16.圆插座 | 17.测量按钮 | 18.右鼓轮 | 19.转塔 | 20. 20х物镜 |
面板键功能介绍


操作面板
硬度计的使用

硬度计测量硬度的工作过程
压痕的具体测量方法


硬度计符合标准
GB/T4340.1-1999 GB/T 4340.1-1999 金属维氏硬度试验 第1部分:试验方法
GB/T4340.2-1999 GB/T 4340.2-1999 金属维氏硬度试验 第2部分:硬度计的检验
ISO 6507-2:2018《金属材料 维氏硬度试验 第2部分:硬度计的检验与校准》国际标准
ASTM E384-17 材料的努氏和维氏硬度标准试验方法
JJG151 - 金属维氏硬度计检定规程
标准配置
名称 | 数量 | 名称 | 数量 |
仪器主机 | 1台 | 物镜20x、10x, | 各1只 |
维氏压头 | 1只 | 砝码(5KG) | 3只 |
维氏硬度块 | 2块 | 大、中、“V”试台 | 各1只 |
电源线 | 1根 | 10×测微目镜 | 1只 |
产品使用说明书 | 1份 | 产品合格证 | 1份 |



客服1 